清洁设备行业的“劳斯莱斯”!清晨雨拖地车斩获国际发明专利,一扫一洗一拖还你洁净空间

卫生环境是高品质住宅小区的第一张名片

调查显示,小区的干净整洁更能营造舒适的居住氛围

清洁设备行业的“劳斯莱斯”!清晨雨拖地车斩获国际发明专利,一扫一洗一拖还你洁净空间

给买房人群第一印象的好感度会增加28.3%

洁净卫生的园区,让人心情愉悦

清洁设备行业的“劳斯莱斯”!清晨雨拖地车斩获国际发明专利,一扫一洗一拖还你洁净空间

相反,如果路面布满灰尘、污渍,垃圾杂乱成堆

只会让购房者十分嫌弃,对这里敬而远之

可是,想要路面干净,环境整洁却又问题不断

清洁设备行业的“劳斯莱斯”!清晨雨拖地车斩获国际发明专利,一扫一洗一拖还你洁净空间

面积大、污垢多、耗体力、费人工,打扫了一遍大半天过去了,风一过又脏了

重点来了,想要简单好用,效果显着,又能一次即净

大白一定要推荐你们这款清洁产品

清洁设备行业的“劳斯莱斯”!清晨雨拖地车斩获国际发明专利,一扫一洗一拖还你洁净空间

清晨雨拖地车,国家3C认证,中美发明专利认证。

郑州清辰雨清洁设备有限公司自2013年开始研发至今,已获得多项国家发明专利。

清洁设备行业的“劳斯莱斯”!清晨雨拖地车斩获国际发明专利,一扫一洗一拖还你洁净空间

发明的“清晨雨”系列拖地车,更是集喷雾、降尘、扫地、洗地、拖地于一体,能够满足99%的环境清洁问题。

清晨雨拖地车不受传统清洁设备原理束缚,而是以独创的循环水洗拖具为突破口,经过成千上百次的试用和改进才投入市场。

这款产品获得中国和美国的发明专利,获得德国纽伦堡国际发明展银奖和国内3C认证,是河南省科技型中小企业。

秉承着自主创新,对于循环水洗拖具的深入研究,为广大物业小区提供服务,为清洁服务行业送去新的解决方案。

清洁设备行业的“劳斯莱斯”!清晨雨拖地车斩获国际发明专利,一扫一洗一拖还你洁净空间

“清晨雨”品牌能够持续的额“发热”靠的不仅仅是产品本身而且每一辆车出厂都要经过多项合格检测,确保性能和安全。

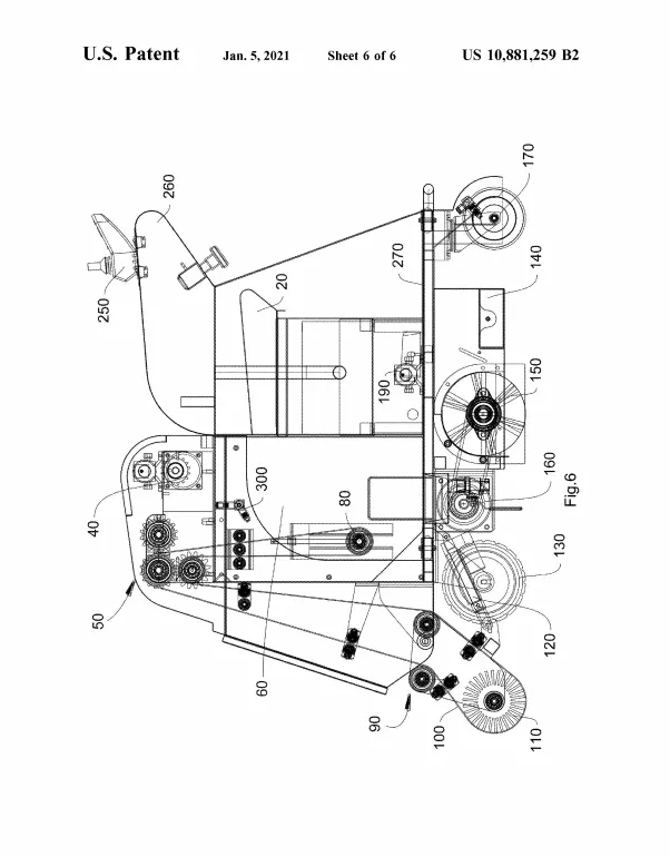
下面我们来看看专利的详细内容

清晨雨拖地车在美国斩获的发明专利

清洁设备行业的“劳斯莱斯”!清晨雨拖地车斩获国际发明专利,一扫一洗一拖还你洁净空间 清洁设备行业的“劳斯莱斯”!清晨雨拖地车斩获国际发明专利,一扫一洗一拖还你洁净空间

发明名称:一种大中型清扫拖地车

清洁设备行业的“劳斯莱斯”!清晨雨拖地车斩获国际发明专利,一扫一洗一拖还你洁净空间

清晨雨驾驶式洗拖一体机,整车智能化操作

只要手握方向盘,动手按下按钮即可开启清洁工作

带走顽固污垢,一车多用,轻松将地面清除干净

清洁设备行业的“劳斯莱斯”!清晨雨拖地车斩获国际发明专利,一扫一洗一拖还你洁净空间

科技创新只是手段,最终目的还是要服务于人。清辰雨始终以用户需求为核心,未来也将通过不断技术创新、场景迭代,持续为清洁设备的发展贡献力量。

 

清洁设备行业的“劳斯莱斯”!清晨雨拖地车斩获国际发明专利,一扫一洗一拖还你洁净空间

 

相关新闻

联系我们

0371-86169162

6688体育官方

 

QR code